Conversation
|
Would you also be able to attach a before and after photo in this thread so we can visually check the transform? |
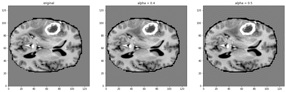
Hi @rijobro, here one can see the transform applied on a sample image from the BraTS dataset. Leftmost is the original volume, then separate applications of the transform with different strengths. |
Sure thing, I can try. I also noticed afterwards that my pull request had stuff from other PR you mentioned. I'll try your suggestion. |
|
@yanielc let me know when you want me to re-review this. |
There was a problem hiding this comment.
Aside from the remaining comments, unit tests are needed for all 4 classes (random/deterministic and array/dictionary). Should use a variety of inputs (alpha as float vs. list) etc. Should also be tested on both 2d and 3d images with a variety of number of channels.
Sounds good, I will commit the changes possibly tomorrow and I will include the unit tests. |
Hi Richard, the commit is ready for review. I added the unit tests as well. |
Signed-off-by: Yaniel Cabrera <yaniel.cabrera@gmail.com>
Signed-off-by: Yaniel Cabrera <yaniel.cabrera@gmail.com>
|
Looks really good, just need to get all the checks green and then I think this is good to go. Thanks! |
I think all of our transforms assume |
There are currently two tests failing. One is build-docs. The interesting thing is that when I run /home/runner/work/MONAI/MONAI/monai/transforms/intensity/array.py:docstring of monai.transforms.intensity.array.GibbsNoise.shift_fourier:1: WARNING: duplicate object description of monai.transforms.GibbsNoise.shift_fourier, other instance in transforms, use :noindex: for one of them The other error is simpler. It's flake8. When I run it locally it wants to reformat more files than the ones I have edited it. Can I let it do that? Thank you for all guidance! |
Signed-off-by: Yaniel Cabrera <yaniel.cabrera@gmail.com>
|
@wyli @Nic-Ma @ericspod – do you think we could revisit the use of DCO? I committed from a github suggestion, which apparently doesn't do the DCO (so not very useful), but I can't force push since it's not my branch... |
there is a discussion about the DCO here dcoapp/app#141 |
Signed-off-by: Yaniel Cabrera <yaniel.cabrera@gmail.com>
Signed-off-by: Yaniel Cabrera <yaniel.cabrera@gmail.com>
Signed-off-by: Yaniel Cabrera <yaniel.cabrera@gmail.com>
|
@rijobro, almost all green marks! I think you saw there is just one missing sign-off from a previous commit of yours. By the way, I noticed that the docs are showing every method of the Gibbs transforms, for example |
Signed-off-by: Yaniel Cabrera <yaniel.cabrera@gmail.com>
Signed-off-by: Yaniel Cabrera <yaniel.cabrera@gmail.com>
Signed-off-by: Yaniel Cabrera <yaniel.cabrera@gmail.com>
Head branch was pushed to by a user without write access
|
tell me when you're happy. I'll have to manually set the DCO check to pass, and then enable auto-merge. |
Ok, I think I am done with changes on my end. |

Description
Added a Gibbs artifact transform to model Gibbs artifacts in 3D MRI data. The transform has the property to be applied randomly as a naturalistic data augmentation tool. Gibbs artifacts are one of the typical sources of noise in MRI data. I added both the transform to the intensity/array.py file and its dictionary partner to the intensity/dictionary.py.
For general information on Gibbs artifacts, please refer to:
https://pubs.rsna.org/doi/full/10.1148/rg.313105115
https://pubs.rsna.org/doi/full/10.1148/radiographics.22.4.g02jl14949
Status
Work in progress
Types of changes
./runtests.sh -f -u --net --coverage../runtests.sh --quick --unittests.make htmlcommand in thedocs/folder.